HONE-长运平台-(中国区)官方直营注册登录平台! cyyl
手机:13450082237
电话:0769-22210391
传真:0769-22217692
网址:www.
邮箱:13450082237@163.com
地址:广东省东莞市东城街道桑园社区银贵路6号
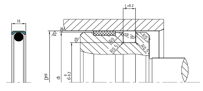
1. PDD特康双三角密封标准材料
密封体:填充聚四氟乙烯F-PTFE
弹性体:丁腈橡胶NBR或氟橡胶FKM

2. 应用范围
SPGC应用在轻型或中型工业的液压系统中,可用于气动设备。
设计选用时可参考NOK公司SPGC系列、Trelleborg公司PDD系列、AS公司的YP系列标准。
3. 特性及优点
1.沟槽简单,可用于整体式活塞。
2.摩擦力小,无爬行现象。
3.静密封性能非常好。确保有很高的耐磨性。
4.由于较大的挤出间隙,在有污物的介质中也可安全使用。
5. 因单个密封件有双向密封能力,故省去了安装空间。
6. 可装在O形圈槽上,比O形圈有较低的滑动摩擦以保证有很高的耐用性
7.适于最新环保安全的液压液(生物油)还可以用于气动设备。
