HONE-长运平台-(中国区)官方直营注册登录平台! cyyl
手机:13450082237
电话:0769-22210391
传真:0769-22217692
网址:www.
邮箱:13450082237@163.com
地址:广东省东莞市东城街道桑园社区银贵路6号
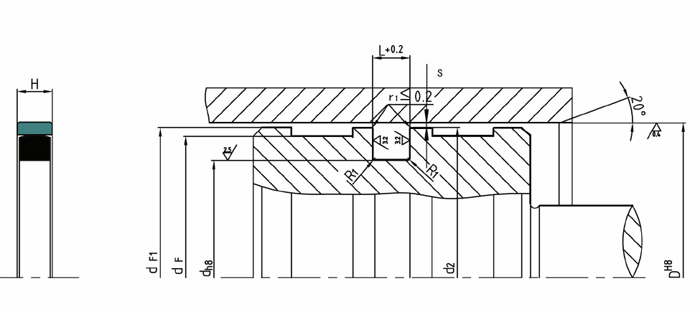
1.OMK-S重载格莱圈标准材料
密封环:填充聚四氟乙烯F-PTFE
0形圈:丁腈橡胶NBR

2.应用范围
由一个PTFE矩形截面滑环和一个作为加载元件的矩形圈组成的双组合密封圈。此种型式的同轴密封,主要用于重型机械或冶金设备的液压缸活塞密封系统。如:液压机、注塑机等。设计选用时可参考Merkel公司OMK-S产品标准。
3.特性及优点
1.高的耐摩损性
2.抗间隙挤出的能力强
3.高耐压特性
4.低摩擦,不会造成“液压爬行”。
5.采用防扭曲设计,工作性能稳定。
6.橡胶的弹性具有高的接触压力,抗压效果好。
